

咨询热线:18151922896
联系电话:025-84312185
传真:025-84312185
网址:
邮箱:juhangvsr@163.com
地址:南京市光华路156号
taptap点点官网登录入口
振动时效是近几年发展起来的消除残余应力的新技术,它与热时效、自然时效相比,具有节能、省时、投资少、效率高等显著优点,特别适用于大型工件。
振动时效技术就是用周期性的动应力与工件内残余应力叠加,使工件内局部产生塑性变形而释放应力的过程。对工件施加一交变应力,如果交变应力幅与工件上某些点存在的残余应力之和达到材料的屈服极限时,这些点将产生塑性变形;如果这种循环应力使某些点产生晶格滑移,尽管宏观上没有达到屈服极限,但也同样会产生微观的塑性变形,况且这些塑性变形往往首先发生在残余应力最大的点上,因而使这些点受约束的变形得以释放从而降低了残余应力。这就是用振动时效消除残余应力的机理。
振动时效技术应用
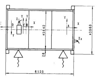
对大型电站磨机筒体进行振动时效处理,零件尺寸图见图1。
图1 筒体
振动时效前分别对筒体上ABCD四个区进行残余应力测量。
振动时效工艺参数选择
选择激振器位置
振点分别选在筒体人孔处(Z1点)和筒体法兰处(Z2点)。
支点位置
两支点选在筒体两端附近
激振力大小
一般原则为:应使d=(1/2-2/3)σ工作
它与振动时频率,激振器偏心重量,偏心距有关。可根据工件,激振器等具体情况及工作经验调整选取。
激振频率Nt
首先,将激振器装夹在Z1点上,对工件进行频率扫描,测得:
N=5939r/min时,有一共振峰Gm=32.1m/s2
N=7495r/min时,有一共振峰Gm=37.0m/s2
由此选定激振频率Nt=5900r/min
振动时效时间T
一般根据工件吨位及工作经验选择。根据实际情况T=16min。
振后频率扫描,测得:
N=5934r/min时,其共振峰Gm=28.2m/s2
N=7325r/min时,其共振峰Gm=21.0m/s2
与振前比较,共振频率降低(共振峰左移)。可定性判断:残余应力下降。
将激振器装夹在Z2点上并进行上述过程:
振前频率扫描,测得:
N=5945r/min时,有一共振峰Gm=18.6m/s2
N=7250r/min时,有一共振峰Gm=16.0m/s2
N=7512r/min时,有一共振峰Gm=19.1m/s2
选定激振频率Nt=7200r/min
振动时效时间T=11min
振后频率扫描,测得:
N=5942r/min时,其共振峰Gm=19.8m/s2
N=7246r/min时,其共振峰Gm=16.8m/s2
N=7512r/min时,其一共振峰Gm=19.1m/s2
与振前比较,其中两个共振频率降低(共振峰左移);同时共振峰升高。可定性判定:残余应力下降。
测量结果与分析
在Z1 Z2两点完成振动时效后,再对工件原ABCD区进行残余应力测量。
测量结果表明:经振动时效后,工件内残余应力下降,并重新分布得以均化,产生了残余压应力,有助于提高工件的疲劳寿命。较大的拉应力变为相应的压应力,在其变化过程中必定有一时刻过零点,应力为零。只要振动时效工艺制定的科学合理,一定会达到最佳效果。